近年来,党中央高度重视数据安全,就加强数据安全工作和促进数字化发展作出一系列部署。按照党中央决策部署和贯彻总体国家安全观的要求,全国人大常委会积极推动数据安全立法工作。经过三次审议,2021年6月10日,十三届全国人大常委会第二十九次会议通过了《中华人民共和国数据安全法》(以下简称《数据安全法》)。《数据安全法》树立数据安全发展规范,建立数据安全制度、保护义务、数据安全责任,推动政务数据安全开放利用,加快形成以创新为主要引领和支撑的数字经济,更好地服务于我国经济社会发展。
《数据安全法》历经三次审议,每一次精修都在不断提高对数据安全的要求:
《数据安全法》一审:确立数据安全保护管理基本制度;
《数据安全法》二审:完善数据分级分类和重要数据保护制度;
《数据安全法》三审:完善保障政务数据安全加强数据安全责任。
《数据安全法》两大重点核心解读
第一,明确强调数据开发利用全流程安全管理的重要性。
《数据安全法》多项条款中都明确强调了数据开发利用全流程应遵循的安全管理规范。
第一条
为了规范数据处理活动,保障数据安全,促进数据开发利用,保护个人、组织的合法权益,维护国家主权、安全和发展利益,制定本法。
第三条
数据,是指任何以电子或者其他方式对信息的记录。数据处理,包括数据的收集、存储、使用、加工、传输、提供、公开等。数据安全,是指通过采取必要措施,确保数据处于有效保护和合法利用的状态,以及具备保障持续安全状态的能力。
第十三条
国家统筹发展和安全,坚持以数据开发利用和产业发展促进数据安全,以数据安全保障数据开发利用和产业发展。
第十五条
国家支持开发利用数据提升公共服务的智能化水平。提供智能化公共服务,应当充分考虑老年人、残疾人的需求,避免对老年人、残疾人的日常生活造成障碍。
第十六条
国家支持数据开发利用和数据安全技术研究,鼓励数据开发利用和数据安全等领域的技术推广和商业创新,培育、发展数据开发利用和数据安全产品、产业体系。
第二十七条
开展数据处理活动应当依照法律、法规的规定,建立健全全流程数据安全管理制度,组织开展数据安全教育培训,采取相应的技术措施和其他必要措施,保障数据安全。利用互联网等信息网络开展数据处理活动,应当在网络安全等级保护制度的基础上,履行上述数据安全保护义务。
第四十二条
国家制定政务数据开放目录,构建统一规范、互联互通、安全可控的政务数据开放平台,推动政务数据开放利用。
第二,明确强调了违反数据安全应承担的法律责任。
随着信息技术和人类生产生活交汇融合,围绕智慧城市以及政府、电力、交通、金融、医疗、制造等行业各类数据迅猛增长、海量聚集,对经济发展、人民生活都产生了重大而深刻的影响。数据安全已成为事关国家安全与经济社会发展的重要因素,传统网络安全基于“以网络为中心”是站在“外围防护”无法满足数据要素“以数据为中心”的应用场景,解决数据安全开放利用、建立数据全流程安全监管手段迫在眉睫。

数据安全是启明星辰的重要战略方向之一,公司结合数据安全运营(DataSecOps)理念,基于数据活动场景设计的“以数据为中心”可信流通安全体系,将监管融入到数据活动的流程中,来弥补传统网络安全“外围防护”的不足。
在开放数据下,数据提供者、加工者、所有者和维护者等角色的交叉重叠使得部门机构与人员的数据活动和权责归属变得极为复杂,难以清晰界定。可信流通安全体系能够针对性解决数据安全开放利用及数据活动过程中责任归属等两类重要典型问题。

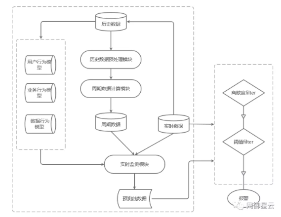
“以数据为中心”的可信流通安全体系主要是通过量化模型的专利技术,发现并实时重构网络中流动的、不可见的“设备、用户、应用、数据”四个维度的关键数据,围绕业务应用场景绘制以数据行为为核心的数据因子全息图。结合人工智能学习将多源散乱的关系进行治理分析、数字建模,评估数据行为是否存在违规,明确数据违规责任方,并对违规行为进行事前预警、事中报警、事后溯源,从而为政务的数据安全提供全维度无感知、无死角全天候分析、监测和预警平台,真正实现“以数据为中心”的监管监测,做到“看的住、管的住”的数据可信流通的安全监管手段。
《数据安全法》既是数据安全领域的基础性法律,也是国家安全领域的重要组成部分。该法坚持安全与发展并重,在规范数据活动的同时,也对支持促进数据安全与发展的措施、推进政务数据开放利用等作出相应规定。网御星云还将在政策的指引下不断创新数据安全产品及解决方案,助力数据经济与安全共生创新,为数字中国建设夯实安全基础。
Copyright © 启明星辰 版权所有 京ICP备05032414号
京公网安备11010802024551号

